WePC是隶属于在澳洲政府及税局注册的澳洲全资公司ZGX PTY LTD名下的IDC运营部门,公司注册至今已运营11个年头,业务范围覆盖pc配件、农场投资、坚果出口等业务 公司新进IDC市场,澳大利亚原生IPv4 NAT和IPv6主机6折促销! 澳洲自建机房,千兆接入,Ceph多副本数据存储系统。目前推出美国4837节点,算是上行优惠吧。八折循环优惠码:WEPCUSMQH20OFF (月付季付半年付有效) 六五折循环优惠码: WEPCUSYEAR35OFF (年付有效)
官网:https://wepc.au/

二、评测套餐介绍
US_LOS_4837_IPV4(优惠价格为月付优惠年付更低)
CPU | 内存硬盘 | 带宽/流量 | 网络类型 | 原价(元) | 优惠后(元) |
1C | 2G | 500 Mbps/1.5 TB | IPv4 x1 | 25 | 20 |
2C | 4G | 500 Mbps/3 TB | IPv4 x1 | 45 | 36 |
4C | 8G | 500 Mbps/6 TB | IPv4 X1 | 90 | 72 |
八折循环优惠码:WEPCUSMQH20OFF (月付季付半年付有效) 六五折循环优惠码: WEPCUSYEAR35OFF (年付有效)
三、系统信息
CPU采用的E5-2680V4 中规中矩,采用KVM架构,默认没有开启bbr加速

IP信誉度测试,分数越低越好
-------------------欺诈分数以及IP质量检测--本脚本原创-------------------
数据仅作参考,不代表100%准确,如果和实际情况不一致请手动查询多个数据库比对
以下为各数据库编号,输出结果后将自带数据库来源对应的编号
ipinfo数据库 ① | scamalytics数据库 ② | virustotal数据库 ③ | abuseipdb数据库 ④ | ip2location数据库 ⑤
ip-api数据库 ⑥ | ipwhois数据库 ⑦ | ipregistry数据库 ⑧ | ipdata数据库 ⑨ | ipgeolocation数据库 ⑩
欺诈分数(越低越好): 0②
abuse得分(越低越好): 0④
IP类型:
使用类型(usage_type):hosting① Data Center/Web Hosting/Transit⑤ hosting⑧ business⑨
公司类型(company_type):business① isp⑧
云服务提供商(cloud_provider): Yes⑧
数据中心(datacenter): Yes② No⑥ ⑨
移动网络(mobile): No⑥
代理(proxy): No① ② ⑥ ⑦ ⑧ ⑨ ⑩
VPN(vpn): No① ② ⑦ ⑧
TOR(tor): No① ② ⑦ ⑧ ⑨
TOR出口(tor_exit): No⑧
搜索引擎机器人(search_engine_robot): No②
匿名代理(anonymous): No⑦ ⑧ ⑨
攻击方(attacker): No⑧ ⑨
滥用者(abuser): No⑧ ⑨
威胁(threat): No⑧ ⑨
iCloud中继(icloud_relay): No① ⑧ ⑨
未分配IP(bogon): No⑧ ⑨
黑名单记录统计(有多少个黑名单网站有记录): 无害0 恶意0 可疑0 未检测88 ③
Google搜索可行性:YES
端口25检测:
本地: Yes
163邮箱:No
四、流媒体测试
TikTok解锁正常
---------------TikTok解锁----------------
Tiktok Region: 【US】
Youtube正常
----------------Youtube----------------
[IPv4]
连接方式: Youtube Video Server
视频缓存节点地域: 匈牙利布达佩斯(BUD02S30)
Youtube识别地域: 加拿大(CA)
Netflix支持非自制剧的观看、DisneyPlus美国区
----------------Netflix----------------
[IPv4]
您的出口IP完整解锁Netflix,支持非自制剧的观看
NF所识别的IP地域信息:美国
[IPv6]
您的网络可能没有正常配置IPv6,或者没有IPv6网络接入
---------------DisneyPlus---------------
[IPv4]
当前IPv4出口解锁DisneyPlus
区域:美国区
流媒体综合情况:整体来看通杀
解锁Youtube,Netflix,DisneyPlus上面和下面进行比较,不同之处自行判断
----------------流媒体解锁----------------
以下为IPV4网络测试,若无IPV4网络则无输出
============[ Multination ]============
Dazn: Yes (Region: US)
HotStar: Yes (Region: US)
Disney+: Yes (Region: US)
Netflix: Yes (Region: US)
YouTube Premium: Yes (Region: CA)
Amazon Prime Video: Yes (Region: US)
TVBAnywhere+: Yes
iQyi Oversea Region: US
Viu.com: No
YouTube CDN: Budapest
Netflix Preferred CDN: Los Angeles, CA
Spotify Registration: Yes (Region: US)
Steam Currency: USD
ChatGPT: Yes
五、性能测试
CPU单核1000,算是2680V4中最高的了吧(小站长没见过世面),内存貌似最大写限制在了500M,最大读限制1.2G

Geekbench 5 单核810 多核心2747 https://browser.geekbench.com/v5/cpu/21868948
> Geekbench 5
Geekbench Benchmark Test:
Test | Value
|
Single Core | 810
Multi Core | 2747
Full Test | https://browser.geekbench.com/v5/cpu/21868948
六、路由
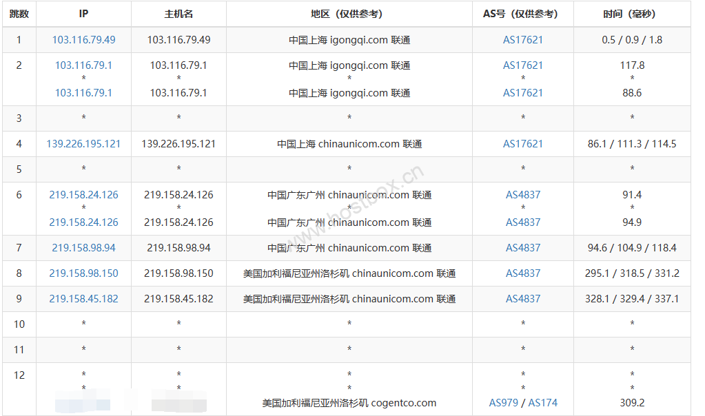
先放一个三网回程的线路吧

上海电信去程路由,163直连

上海联通去程路由,4837直连

上海移动去程路由,经典9808直连。

移动四地回程:除开成都走北京进入其他均为4837直连。
广州移动 120.196.165.24
0.87 ms * RFC1918
8.68 ms AS10099 [CUG-BACKBONE] 中国 香港 chinaunicomglobal.com 联通
178.98 ms * 中国 香港
192.19 ms AS4837 [CU169-BACKBONE] 中国 北京市 chinaunicom.cn 联通
197.46 ms AS4837 [CU169-BACKBONE] 中国 北京市 chinaunicom.cn 联通
188.88 ms AS4837 [CU169-BACKBONE] 中国 北京市 chinaunicom.cn
203.54 ms AS4837 [CU169-BACKBONE] 中国 广东省 广州市 chinaunicom.cn 联通
207.88 ms AS9808 [CMNET] 中国 广东省 广州市 chinamobile.com 移动
212.02 ms AS9808 [CMNET] 中国 海南省 海口市 chinamobile.com 移动
208.79 ms AS56040 [APNIC-AP] 中国 广东省 深圳市 chinamobile.com 移动
上海移动 211.136.112.200
201.70 ms * RFC1918
8.96 ms AS10099 [CUG-BACKBONE] 中国 香港 chinaunicomglobal.com 联通
178.09 ms * 中国 香港
170.53 ms AS4837 [CU169-BACKBONE] 中国 北京市 chinaunicom.cn 联通
168.31 ms AS4837 [CU169-BACKBONE] 中国 北京市 chinaunicom.cn 联通
188.77 ms AS4837 [CU169-BACKBONE] 中国 上海市 chinaunicom.cn 联通
184.47 ms AS4837 [CU169-BACKBONE] 中国 上海市 chinaunicom.cn 联通
157.49 ms AS9808 [CMNET] 中国 上海市 chinamobile.com 移动
279.16 ms AS9808 [CMNET] 中国 上海市 chinamobile.com 移动
178.60 ms AS9808 [CMNET] 中国 上海市 chinamobile.com 移动
179.35 ms AS24400 [CMNET] 中国 上海市 chinamobile.com 移动
185.89 ms AS24400 [CMNET] 中国 上海市 chinamobile.com 移动
185.91 ms AS24400 [CMNET] 中国 上海市 浦东新区 chinamobile.com 移动
北京移动 221.179.155.161
0.68 ms * RFC1918
8.80 ms AS10099 [CUG-BACKBONE] 中国 香港 chinaunicomglobal.com 联通
178.35 ms * 中国 香港
174.79 ms AS4837 [CU169-BACKBONE] 中国 北京市 chinaunicom.cn 联通
177.78 ms AS4837 [CU169-BACKBONE] 中国 北京市 chinaunicom.cn 联通
172.54 ms AS4837 [CU169-BACKBONE] 中国 北京市 chinaunicom.cn 联通
159.53 ms AS9808 [CMNET] 中国 北京市 chinamobile.com 移动
159.85 ms AS9808 [CMNET] 中国 北京市 chinamobile.com 移动
262.09 ms AS9808 [CMNET] 中国 湖北省 武汉市 chinamobile.com 移动
161.43 ms AS56048 [CMNET] 中国 北京市 chinamobile.com 移动
成都移动 211.137.96.205
0.56 ms * RFC1918
8.87 ms AS10099 [CUG-BACKBONE] 中国 香港 chinaunicomglobal.com 联通
182.35 ms * 中国 香港
186.12 ms AS4837 [CU169-BACKBONE] 中国 北京市 chinaunicom.cn 联通
194.32 ms AS4837 [CU169-BACKBONE] 中国 北京市 chinaunicom.cn 联通
203.30 ms AS4837 [CU169-BACKBONE] 中国 北京市 chinaunicom.cn 联通
208.97 ms AS4837 [CU169-BACKBONE] 中国 四川省 成都市 chinaunicom.cn 联通
202.04 ms AS9808 [CMNET] 中国 湖北省 chinamobile.com 移动
215.14 ms AS9808 [CMNET] 中国 北京市 chinamobile.com 移动
217.12 ms AS9808 [CMNET] 中国 四川省 成都市 chinamobile.com 移动
联通四地回程:除开成都走北京进入其他均为4837直连。
广州联通 210.21.196.6
0.84 ms * RFC1918
8.92 ms AS10099 [CUG-BACKBONE] 中国 香港 chinaunicomglobal.com 联通
179.27 ms * 中国 香港
193.67 ms AS4837 [CU169-BACKBONE] 中国 北京市 chinaunicom.cn 联通
194.98 ms AS4837 [CU169-BACKBONE] 中国 广东省 广州市 chinaunicom.cn 联通
202.37 ms AS4837 [CU169-BACKBONE] 中国 广东省 广州市 chinaunicom.cn 联通
289.15 ms AS4837 [CU169-BACKBONE] 中国 广东省 广州市 chinaunicom.cn 联通
238.41 ms AS17816 [APNIC-AP] 中国 广东省 深圳市 chinaunicom.cn 联通
196.91 ms AS17623 [APNIC-AP] 中国 广东省 深圳市 chinaunicom.cn 联通
191.80 ms AS17623 [APNIC-AP] 中国 广东省 深圳市 宝安区 chinaunicom.cn 联通
上海联通 210.22.97.1
1.14 ms * RFC1918
9.15 ms AS10099 [CUG-BACKBONE] 中国 香港 chinaunicomglobal.com 联通
179.07 ms * 中国 香港
186.36 ms AS4837 [CU169-BACKBONE] 中国 北京市 chinaunicom.cn 联通
198.28 ms AS4837 [CU169-BACKBONE] 中国 北京市 chinaunicom.cn 联通
207.95 ms AS4837 [CU169-BACKBONE] 中国 北京市 chinaunicom.cn 联通
201.60 ms AS17621 [APNIC-AP] 中国 上海市 闵行区 chinaunicom.cn 联通
北京联通 202.106.50.1
0.50 ms * RFC1918
8.97 ms AS10099 [CUG-BACKBONE] 中国 香港 chinaunicomglobal.com 联通
176.33 ms * 中国 香港
171.35 ms AS4837 [CU169-BACKBONE] 中国 北京市 chinaunicom.cn 联通
174.80 ms AS4837 [CU169-BACKBONE] 中国 北京市 chinaunicom.cn 联通
275.03 ms AS4837 [CU169-BACKBONE] 中国 北京市 chinaunicom.cn 联通
168.47 ms AS4808 [UNICOM-BJ] 中国 北京市 chinaunicom.cn 联通
173.22 ms AS4808 [UNICOM-BJ] 中国 北京市 丰台区 chinaunicom.cn 联通
成都联通 119.6.6.6
0.57 ms * RFC1918
8.89 ms AS10099 [CUG-BACKBONE] 中国 香港 chinaunicomglobal.com 联通
180.41 ms * 中国 香港
177.11 ms AS4837 [CU169-BACKBONE] 中国 北京市 chinaunicom.cn 联通
171.78 ms AS4837 [CU169-BACKBONE] 中国 广东省 广州市 chinaunicom.cn 联通
172.24 ms AS4837 [CU169-BACKBONE] 中国 广东省 广州市 chinaunicom.cn 联通
171.67 ms AS4837 [CU169-BACKBONE] 中国 山西省 太原市 chinaunicom.cn 联通
209.38 ms AS4837 [CU169-BACKBONE] 中国 四川省 成都市 chinaunicom.cn 联通
206.96 ms AS4837 [UNICOM-SC] 中国 四川省 成都市 chinaunicom.cn 联通
196.66 ms AS4837 [UNICOM-SC] 中国 四川省 成都市 chinaunicom.cn 联通
电信四地回程:除开成都走北京进入其他均为4837直连。
广州电信 58.60.188.222
0.82 ms * RFC1918
8.84 ms AS10099 [CUG-BACKBONE] 中国 香港 chinaunicomglobal.com 联通
182.44 ms * 中国 香港
193.01 ms AS4837 [CU169-BACKBONE] 中国 北京市 chinaunicom.cn 联通
191.60 ms AS4837 [CU169-BACKBONE] 中国 北京市 chinaunicom.cn 联通
293.30 ms AS4837 [CU169-BACKBONE] 中国 广东省 广州市 chinaunicom.cn 联通
198.35 ms AS4134 [CHINANET-GD] 中国 广东省 深圳市 chinatelecom.com.cn 电信
201.65 ms AS4134 中国 广东省 深圳市 福田区 chinatelecom.com.cn 电信
上海电信 202.96.209.133
8.86 ms AS10099 [CUG-BACKBONE] 中国 香港 chinaunicomglobal.com 联通
176.68 ms * 中国 香港
189.54 ms AS4837 [CU169-BACKBONE] 中国 北京市 chinaunicom.cn 联通
190.29 ms AS4837 [CU169-BACKBONE] 中国 北京市 chinaunicom.cn 联通
189.36 ms AS4837 [CU169-BACKBONE] 中国 北京市 chinaunicom.cn 联通
186.39 ms AS4134 [CHINANET-BB] 中国 上海市 chinatelecom.com.cn 电信
176.74 ms AS4812 [CHINANET-SH] 中国 上海市 chinatelecom.cn 电信
174.87 ms AS4812 [CHINANET-SH] 中国 上海市 chinatelecom.cn 电信
北京电信 219.141.136.12
0.49 ms * RFC1918
8.99 ms AS10099 [CUG-BACKBONE] 中国 香港 chinaunicomglobal.com 联通
9.44 ms AS3356 美国 加利福尼亚州 洛杉矶 level3.com
17.72 ms AS3356 美国 加利福尼亚州 圣何塞 level3.com
19.39 ms AS3356 美国 加利福尼亚州 圣何塞 Level3-CT-Peer level3.com
171.34 ms AS4134 [CHINANET-BB] 中国 北京市 chinatelecom.com.cn 电信
284.90 ms AS4134 [CHINANET-BB] 中国 北京市 chinatelecom.com.cn 电信
175.83 ms AS4847 [CHINANET-GD] 中国 北京市 chinatelecom.cn
174.66 ms AS4847 [CHINATELECOM-BJ] 中国 北京市 chinatelecom.cn
成都电信 61.139.2.69
0.88 ms * RFC1918
9.19 ms AS10099 [CUG-BACKBONE] 中国 香港 chinaunicomglobal.com 联通
180.15 ms * 中国 香港
186.67 ms AS4837 [CU169-BACKBONE] 中国 北京市 chinaunicom.cn 联通
201.59 ms AS4837 [CU169-BACKBONE] 中国 北京市 chinaunicom.cn 联通
210.47 ms AS4134 [CHINANET-SC] 中国 四川省 成都市 chinatelecom.com.cn 电信
205.97 ms AS4134 中国 四川省 成都市 青羊区 chinatelecom.com.cn 电信
七、ping测试
去程ping表现,采用ITdog测试,最快159,最慢237 平均195,总体来看一切正常,但是这个最慢比其他的要优秀点

回程ping表现,总体来说符合4837的特征算是比较优秀。
联通滁州 168 | 联通长沙 187 | 联通郑州 198 |
联通太原 198 | 联通无锡 203 | 联通上海 204 |
联通福州 206 | 联通西宁 222 | 联通海南 180 |
联通成都 201 | 联通沈阳 213 | 电信长沙 0 |
电信武汉 157 | 电信上海 176 | 电信苏州 179 |
电信石家庄 177 | 电信兰州 176 | 电信天津 191 |
电信合肥 186 | 电信宁波 190 | 电信南京 195 |
电信新乡 205 | 电信杭州 197 | 电信福州 200 |
电信扬州 223 | 电信拉萨 231 | 电信长春 254 |
电信Nanjing 152 | 电信天津 155 | 电信江苏 175 |
电信重庆 208 | 移动连云港 164 | 移动福州 171 |
移动成都 188 | 移动郑州 187 | 移动杭州 205 |
移动广州 209 | 移动兰州 237 |
八、服务器带宽测试
晚上10点半测试情况,未开启BBR的情况下几乎是拉满了。

本人电信两百下 100上算是拉满了

原创文章,作者:全球主机资源网,如若转载,请注明出处:https://wwwprice.com/517.html